video corpo

A10
1 /60Páginas

A10

A10
1 /60Páginas

Extractos del catálogo

A10-2

Contents / Inhaltsverzeichnis Technical data / Technische Daten Gears: Gänge: Rotation speeds (r.p.m.): Drehzahl (U/min): Rotation speeds r.p.m.: (no load) Drehzahl Leerlauf: Freqency range Taktfrequenz: Height: Höhe: Magnet (l x w) Magnet Aufstandsfläche (L x B) Magetic clamping force: Magnetische Haftkraft: Power consumption: Leistungsaufnahme: Package Contents / Ausstattung 1 Magnetic drilling machine A10 / Kernbohrmaschine A10 1 Carrying case / Transportkoffer 1 Safety belt / Sicherungsgurt 1 Allen Key / Inbusschlüssel 2.5 / 4 / 6 1 Cooling bottle / Kühlmittelflasche 1 Operating...

 Abrir la página 2 del catálogo
A10-3

Parts description / Gerätedarstellung Motor Antriebsmotor Cooling ring / Kühlmittelzufuhr Star grip Drehkreuz Sicherheitsgutführung Buckle slot of safety belt Control panel Bedienfeld Slideway Führungsschiene Magnetic base Magnetfuß Gear case / Ganggehäuse Main axis / Aufnahme Lifting hole / Griffloch Adjusting & Clamping block of motor height /Höhenverstellung Cooling bottle Flasch

 Abrir la página 3 del catálogo
A10-4

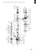
Drawing of drilling unit 230 V / Explosiopnszeichnung 230 V

 Abrir la página 4 del catálogo
A10-5

Drawing of drilling unit 230 V / Explosiopnszeichnung 230 V

 Abrir la página 5 del catálogo
A10-6

Spare parts list - A10 Ersatzteilliste - A10 Quantity / Menge Description / Beschreibung Solid A10 Handle 31 × 37 × 112 Handle cap 19 × 25 × 11 Hex socket head cap screws M6 × 90 Hexagon lock nut M6 Spring washer M6 Gasket M6 Button panel 110 × 75 × 7 Hexagon flat & round head cap screws Motor waterproof switch KDJ17 - 220V Rocker Switch KCD4 Circuit board box 66 × 52 × 30,5 Cap of circuit board box 66 × 52 × 24 Cross screw M3 × 15 Circuit board A10 Sealed plate 76 × 50 × 5 Hexagon head screw M6 × 10 Durable twisting connector MA16-P-10 Corner connector ZT-M16-E-AD13 Cable 220V Spring...

 Abrir la página 6 del catálogo
A10-7

Spare parts list - A10 Ersatzteilliste - A10 Pos. Quantity / Menge Description / Beschreibung Electronic Components * fuse Motor cap A10 Screw ST4.8 × 50 Motor shell A10 Carbon brush 18 × 6.2 × 9.9 Carbon brush base 18 × 6.2 × 9.9 Flat spiral spring 5 × 0.3 Screw M4 × 12 Elastic washer M4 O-ring Ø 22 × 2.5 Deep groove ball bearings 608ZZ Armature 1100 W - 220V Field coil 1100 W - 220V Screw ST3.9 × 62 Wind gathering sleeve Ø 75.5 × Ø 45 × 30 Hole circlip Ø 28 Deep groove ball bearings 6001 Gear box cover A10 Shaft circlip Ø 10 Gear box A10 Cylindrical pin Ø 4 × 12 Paper gasket seal Ø 78 ×...

 Abrir la página 7 del catálogo
A10-8

Operating instructions Attention: Please read this manual carefully before using the drilling unit The drilling units may only be used according to their determination. The use of the drilling unit as a lifting magnet is dangerous and absolutely inadmissible. The use for another purpose than what is determined endagers people and the machine. Please note also the following safety instructions for electric tools. Attention: Before the use of electric tools please note the following basic safety instructions to avoid electric shock, injuries and fire. Read and follow these instructions before...

 Abrir la página 8 del catálogo
A10-9

Operating instructions Assembling The magnetic drilling units are supplied with a high powered electromagnet as well as a reclosure preventing device for the drilling mechanism. The magnetic drilling units correspond to protection class I with conductor according to IEC 745. The drilling mechanisms that have been developed according to DIN VDE 0740 and IEC 745-1 are radio screened according to EN 55014 and EN 61000 and are designed for continous operation: It is possible that the sound level exceeds 85 dB (A). In this case special sound protection is necessary for the user. Indications...

 Abrir la página 9 del catálogo
A10-10

Operating instructions Symbol Term, meaning Use ear protection during operation. Use eye-protection(safety goggle) during operation. Observe the information in the adjacent text! Explanation Be absolutely sure to read and understand the enclosed documentation such as Instruction Manual and the General Safety Instructions. Confirms the conformity of the power tool with the directives of the European Community. Product with basic insulation and exposed (touchable), conductive parts additionally connected to the protective earth conductor. The control panel on your magnetic drilling machine is...

 Abrir la página 10 del catálogo
A10-11

Guarantee / Declaration of conformity: The Manufacturer default warranty period is 12 months after date of delivery. Proof is the invoice. Condition is that the machine has been used, maintained and cleaned correctly and that no repairs by others have been made. The guarantee is limited to repairs free of charge or replacements of the damaged parts that are caused by material defects or production faults. Parts that have been damaged by normal wear or repairs made by oneself or others are not subject to this guarantee. This guarantee is only valid if the correct tools, original accessories...

 Abrir la página 11 del catálogo
A10-12

Bedienungshinweise ACHTUNG: Unbedingt vor dem Gebrauch der Maschine lesen Die Magnetbohreinheiten dürfen nur für den bestimmungsgemäßen Gebrauch eingesetzt werden. Der Einsatz als Hubmagnet ist gefährlich und in jedem Fall unzulässig. Zweckentfremdung bringt Gefahr für Mensch und Maschine mit sich. Beachten Sie weiter die folgenden Sicherheitshinweise für Elektrowerkzeuge. ACHTUNG: Beim Gebrauch von Elektrowerkzeugen sind zum Schutz gegen elektrischen Schlag, Verletzungs- und Brandgefahr, folgende grundsätzliche Sicherheitsmaßnahmen immer zu beachten. Lesen und beachten Sie diese Hinweise,...

 Abrir la página 12 del catálogo
A10-13

Aufbau Die Magnetbohreinheiten bestehen aus den Gerätekomponenten Bohrständer und Bohrantrieb. Die Komponenten sind fest miteinander verbunden und können nicht einzeln oder getrennt von einander betrieben werden. Das Bohrständergehäuse ist aus Aluminiumguß hergestellt und enthält alle wichtigen elektrischen und mechanischen Bedienungselemente. Die Magnetbohreinheiten sind mit einem Hochleistungs-Elektromagneten sowie einer Selbstanlaufsperre für den Bohrantrieb ausgerüstet. Die Magnetbohreinheiten entsprechen der Schutzklasse I mit Schutzleiter nach IEC 745. Die Bohrantriebe, die unter...

 Abrir la página 13 del catálogo

Todos los catálogos y folletos técnicos RUKO GmbH Präzisionswerkzeuge

  1. RU40

    88  Páginas

  2. RU25

    88  Páginas

  3. CONCRETE DRILLS

    9  Páginas

  4. SCREW-HOLE PUNCHES

    5  Páginas

  5. DEBURRERS

    7  Páginas

  6. SAWS

    29  Páginas

  7. HOLE SAWS

    15  Páginas

  8. ROTARY BURRS

    19  Páginas

  9. CORE DRILLS

    19  Páginas

  10. SINKERS

    29  Páginas

  11. STEP DRILLS

    23  Páginas

  12. SPECIAL DRILLS

    5  Páginas

  13. TWIST DRILLS

    49  Páginas

  14. RUKO Main catalog

    163  Páginas

* Los precios no incluyen impuestos, gastos de entrega ni derechos de exportación. Tampoco incluyen gastos de instalación o de puesta en marcha. Los precios se dan a título indicativo y pueden cambiar en función del país, del coste de las materias primas y de los tipos de cambio.